38 john deere l100 wiring diagram
John Deere 111 Wiring Diagram - wiring diagram is a simplified normal pictorial representation of an electrical circuit. It shows the components of the circuit as simplified shapes, and the skill and signal connections with the devices. A wiring diagram usually gives guidance about the relative direction and conformity of devices and ...
Lets go through the electrical on this L100 John Deere Lawn Tractor and find out whay it was parked so many years ago. Time to bring this one back from the d...
From the thousand photographs on the web concerning john deere l130 wiring diagram, we selects the very best selections with best image resolution exclusively for you all, and now this photos is actually considered one of images choices in this very best photos gallery about John Deere L130 Wiring Diagram.Lets hope you might as it. That impression (John Deere Wiring Diagram For L110A John ...

John deere l100 wiring diagram
John Deere L100 tractor overview. ©2000-2020 - TractorData™. Notice: Every attempt is made to ensure the data listed is accurate.
John Deere L100 - L130 series OEM Repair Manual in PDF format is a technical document which covers common repair and maintenance sections like an engine, electrical, steering, brakes systems, etc. The manual is fully printable, all wiring diagrams are in perfect quality
John deere l130 wiring diagram wiring diagram is a simplified usual pictorial representation of an electrical circuit it shows the components of the circuit as simplified shapes and the faculty and signal friends in the middle of the devices. There is no place on line for John Deere wiring schematics.
John deere l100 wiring diagram.
John Deere L100 L110 L120 L130 Lawn Tractors Repair Manual Pdf. L130 tractor manual john deere l120 lawn with 48 rio switch on is getting power but pto clutch wiring l105 l107 wallpapers vehicles l100 l110 l118 555 pwm high searching circuits help please my forum lt 155 headlights not working jd 212 electrical problem green service publications 316 onan no page 2 need a diagram for 116 h l108 ...
John deere l100 belt diagram. John deere l100 mower wiring diagram wiring diagram and fuse box intended for john deere l100 parts diagram image size 781 x 516 px and to view image details please click the image. John deere m10xm30 blade bolt 19m7786 5 113.
John Deere L100 Wiring Diagram John Deere L100 Wiring Diagram Here is a link to John Deere website for this model, it states that it has a 16 amp charging system. It also has the phone numbers listed for. Jun 28, Deere L wire question - I discovered a single yellow wire that is in I was able to use the wiring schematic you sent me to get the mower.
John Deere 100 Series Wiring Diagram. and finally we upload it on our website. Many good image inspirations on our internet are the most effective image selection for John Deere 100 Series Wiring Diagram. . If you're satisfied with some pictures we provide, please visit us this site again, do not forget to generally share to social media you ...
I need the wiring diagram 2002 deere g100 tractor with the… Customer Question. I need the wiring diagram... I need the wiring diagram for a 2002 john deere g100 tractor with the kohler command 25 hp engine thank you in advance. Submitted: 5 years ago. Category: ... I have Deere manual in the L100 series. Ask Your Own Small Engine Question.
JOHN DEERE WORLDWIDE COMMERCIAL & CONSUMER EQUIPMENT DIVISION DOWNLOAD SERVICE REPAIR MANUAL Lawn Tractors L100, L110, L120, and L130 TM2026 DECEMBER 2002 TECHNICAL MANUAL North American Version Litho in U.S.A.
John Deere 42 in Tractor Grass Groomer Striping Kit - LP1001. (28) $119.99. Usually available. Add to Cart. Quick View. John Deere 42-lb Quick-Tach Suitcase Weight - UC13263. (6) $60.99.
John Deere L100, L108, L111, L118, L120, and L130 Lawn Tractors Operator manual.pdf John Deere STX30, STX38, STX46 Lawn Tractors Technical Manual.pdf John Deere Z225, Z425, Z445 EZtrak Operator Manual.pdf
Jan 27, 2019 - John Deere L100 - L130 series OEM Repair Manual in PDF format is a technical document which covers common repair and maintenance sections like an engine, electrical, steering, brakes systems, etc. The manual is fully printable, all wiring diagrams are in perfect quality
94dfb John Deere Wiring Diagrams Free Digital Resources John Deere Z225 Wiring Diagram Talk About Wiring Diagram ... Pin On John Deere Wrg 8765 John Deere L100 Wiring Harness L111 Wiring Diagram Wiring 9 John Deere Lawn Mowers Operator S Manual Pdf Truck Manual Operating
This manual contains high-quality images, specs and Schematics, actual real photo illustrations, circuit diagrams, and instructions to help you to operate, diagnostic, maintenance, troubleshoot, and repair your John Deere L100, L108, L110, L111, L118, L120, L130 Lawn Tractors. John Deere L100, L108, L110 Service Repair Manual.
John Deere L130 Wiring Diagram - wiring diagram is a simplified usual pictorial representation of an electrical circuit. It shows the components of the circuit as simplified shapes, and the faculty and signal friends in the middle of the devices. A wiring diagram usually gives information virtually the relative turn and bargain of devices and ...
John Deere PARTS LOOKUP John Deere Parts Diagrams, John Deere L100 Lawn Tractor (With 42-IN Mower Deck) Material Collection System -PC9288 Air Cleaner Engine 33R877--0027--G1 : Fuel & Air
John Deere L100 Lawn Tractor With 42 In Mower Deck Material Collection System Pc9288 Alternator Ignition Electrical. L130 tractor manual deere l100 wire question i discovered john l110 l120 l118 l108 l111 lawn with 42 headlight wiring harness wires hook up to the clutch 9 mowers operator s electrical diagram for mower my will not hammond schematics here and elsewhere wont turn over solenoid ...
Description: John Deere L130 Wiring Diagram With Electrical 44935 | Linkinx with John Deere L130 Wiring Diagram, image size 933 X 508 px, and to view image details please click the image.. Here is a picture gallery about john deere l130 wiring diagram complete with the description of the image, please find the image you need.
John Deere L100, L108, L110, L111, L118, L120, L130 Lawn Tractors Technical Manual (TM2026) John Deere 7610, 7710 and 7810 USA Tractors Diagnosis and Tests Service Manual (TM2030) John Deere 4895 Self-Propelled Hay and Forage Windrower Repair Technical Manual (TM2033)
John Deere L100 Wiring Diagram. Document for John Deere L Parts Manual Download is available in various format such wiring diagram manual reprint, harley davidson fxst owners. John Deere L Mower Wiring Diagram - welcome to my internet site, this blog post will go over regarding John Deere L Mower Wiring. Gear Model L · Automatic Model L ...
John Deere L100 wire question - I discovered a single yellow wire that is in the bundle coming from the ignition switch just dangling under the hood. This is after the mower abruptly cut off and will no longer start. ... I need a wiring schematic or wiring diagram (point-to-point wiring) for a John Deere LT166 lawn tractor.
John Deere L100 L110 L120 L130 Lawn Tractors Repair Manual Pdf. Electrical Wiring Diagram For John Deere Mower Thriftyfun. John Deere L100 Lawn Tractor With 42 In Mower Deck 2 Stage Snower Pc9288 2003 Model Gx0422x007001 009000 2004 Gx0422x009001 010000. John Deere L100 Lawn Mower Wiring Harness W Relay Battery Cables Solenoid 64 50 Picclick.
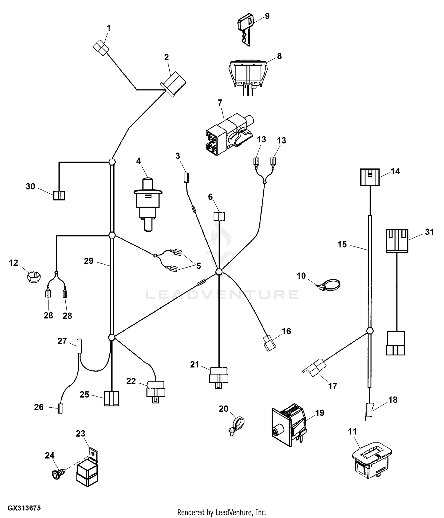
Description: John Deere L100 Mower Wiring Diagram | Wiring Diagram And Fuse Box intended for John Deere L100 Parts Diagram, image size 781 X 516 px, and to view image details please click the image.. Here is a picture gallery about john deere l100 parts diagram complete with the description of the image, please find the image you need.
Find your owner's manual and service information. For example the operator's manual, parts diagram, reference guides, safety info, etc.
John Deere Wiring Diagram - john deere 318 wiring diagram, john deere alternator wiring diagram, john deere l130 wiring diagram, Every electric arrangement is composed of various different parts. Each part should be placed and linked to different parts in specific manner. If not, the arrangement won't work as it ought to be.
John deere l100 l108 l110 l111 l118 l120 l130 tractor manual lawn tractors repair pdf tm2026 technical service manuals rio switch on is getting power but doesn t work my forum la myservicemanuals sabre 42 belt diagram wiring site resource update the new 110 garden forums lt 155 headlights not working with in mower deck 2 stage snower… Read More »
0 Response to "38 john deere l100 wiring diagram"
Post a Comment