38 john deere lx277 parts diagram
A Complete Listing Of All John Deere Lawn Tractor Parts Is Available Using Illustrated Diagrams. This quick parts reference guide will provide you with the most common John Deere LX277 Lawn Tractor Parts 42C Mower Deck. These John Deere Lawn Tractor Parts may include: Tune Up Kit, Spark Plug, Mower Blades, Traction Drive Belt, Transmission Belt ... The John Deere LX277 was produced from 1999 to 2003 with options All Wheel Steering. It came equipped with a hydrostatic drive transmission, 42" or 48" Mower Deck and 17hp Kawasaki Engine. Regular Maintenance should be performed on the LX277 every 50 hours and should include Spark Plug, Air Filter, Oil Filter with 1.8qts oil and sharpen or replace mower blades.
Service Schedule Parts for a John Deere LX277 Lawn Tractor & Parts List. While your John Deere machine is certainly built with quality parts, they have a limited life. Good news is you can easily service your machine yourself using a John Deere maintenance kit or service kits or by getting the specific John Deere part needed to keep your John Deere mower or tractor running for a long time.
John deere lx277 parts diagram
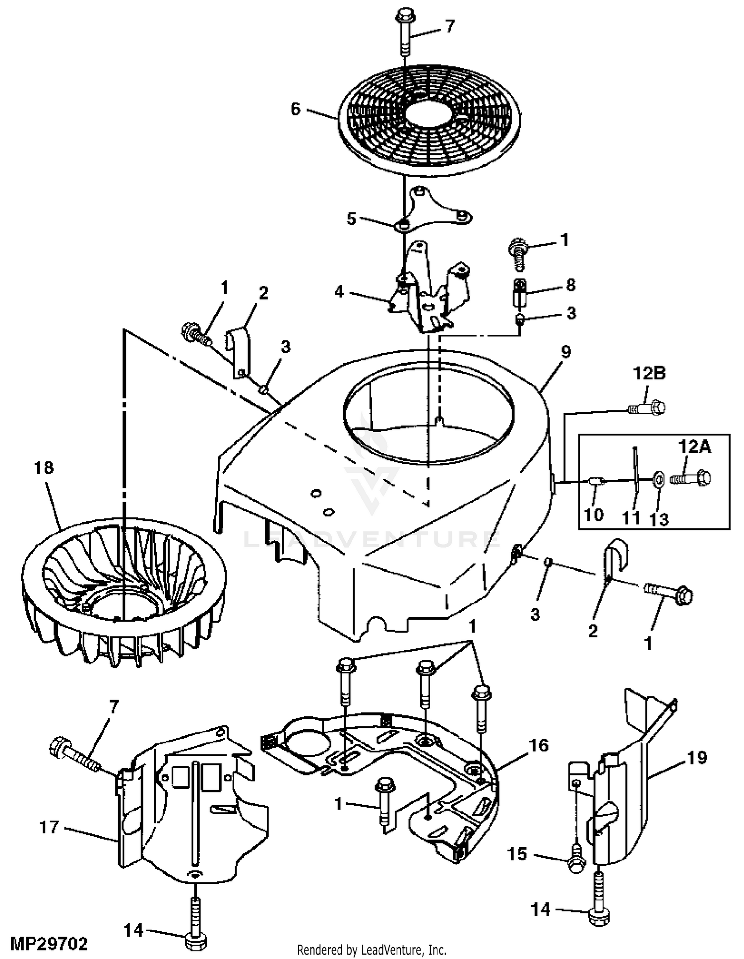
LXLawn-Tractor-WithIN-Convertible-Mower-Deck--PC Parts Diagram. John Deere LX255 LX266 LX277 LX277AWS LX279 LX288 Lawn Tractor TM1754 Technical Manual PDF. Attachments · AIR FILTER HEADLIGHT WIRING HARNESS: ELECTRICAL.John Deere Wiring Diagram. Good day beloved reader. The John Deere LX279 was produced from 1999 to 2003. It came equipped with a hydrostatic drive transmission, 42" or 48" Mower Deck and 17hp Kawasaki Engine. Regular Maintenance should be performed on the LX279 every 50 hours and should include Spark Plug, Air Filter, Oil Filter with 1.9qts oil and sharpen or replace mower blades. You can use the print selector to print just the drawing or the list. (or both) After you get the JD part numbers go to John Deere Parts Online Discount Store: Green Farm Parts and type the part number into the search bar. Or you can put the part numbers into google and it may find other dealers or items listed on ebay.
John deere lx277 parts diagram. John Deere Lx277 Parts, Price, Review, Manual, Problems, Engine Oil Capacity, Weight, Serial Numbers, Attachments, Features & Images. John Deere LX277 is a 2WD lawn mower from the popular JD series is LX 200. This tractor was organed by John Deere in Horicon, Wisconsin, USA from 2001 to 2003. Re: lx277 parts diagram and online source? It is metric, and I figured out that I either don't understand or agree with the diagram exactly. Looked like the diagram was showing the nylon washer (going by part number) on the "outside" of the frame when after looking at it it seems it had to be a spacer between the frame and the cruise control plate. 1-16 of 329 results for "john deere lx277 parts" Amazon's Choice for john deere lx277 parts. John Deere Original Equipment Filter Kit #LG195. 4.9 out of 5 stars 273. $50.07 $ 50. 07. Get it Tue, Nov 16 - Fri, Nov 19. FREE Shipping. John Deere Original Equipment Hood #AM132529. 4.8 out of 5 stars 308. Search part numbers and John Deere parts diagrams to identify exactly what you need to keep your equipment running smoothly. Search Parts Catalog. Save 15% 2 on MowerPlus™ Smart Connectors. Save 15% 2 on a MowerPlus™ Smart Connecter. Use your Smart Connector with the MowerPlus™ app to work smarter, not harder this fall.
A Worldwide Parts Services Distribution Network. The John Deere dealer is the first line of customer parts service. Throughout the world, there are dealers to serve Agricultural, Construction, Lawn and Grounds Care, and Off-Highway Engine customers. 39 john deere 42 inch mower deck parts diagram Written By Tim C. Meyers. Tuesday, November 9, 2021 Add Comment Edit. Cub Cadet HDS3185 GT3200 (3000 Series) 48" Mower Deck Front Mount 703-3043A Genuine Cub Cadet Drive Shaft Assembly 917-04112. We are your partner for Cub Cadet spare parts. Nov 06, 2014 · Re: cub cadet powershaft 6284 split ... 48C Mower Deck Parts for LX277 - John Deere Parts and More This quick parts reference guide will provide you with the most common John Deere LX277 Lawn Tractor Parts 48C Mower Deck. These John Deere Lawn Tractor Parts may include: Tune Up Kit, Spark Plug, Mower Blades, Traction Drive Belt, Transmission Belt, Mower Drive Belt, Battery, and Air ... John deere parts diagrams lx277 lawn tractor two wheel. Model 48 convertible mower deck 48 inch. Checking for bent mower blades. The belt above mower deck came off while blades were engaged. Click the part number below to view and order john deere lx277 lawn tractor parts 48c mower deck or search illustrated diagrams to determine the part you ...
John Deere Lx277 Wiring Diagram from pocdiagram.hoteldongwe.it. Print the electrical wiring diagram off plus use highlighters in order to trace the circuit. When you use your finger or even stick to the circuit along with your eyes, it is easy to mistrace the circuit. One trick that We 2 to print out exactly the same wiring picture off twice. BRUSH GUARD: WHEELS,FRAME,& OPERATOR'S STATION. CAMSHAFT & VALVES: ENGINE LX277 AM131436. CAMSHAFT & VALVES: ENGINE LX279 MM13660. CARBURETOR & INTAKE MANIFOLD LX277: FUEL AND AIR. CARBURETOR & INTAKE MANIFOLD LX279: FUEL AND AIR. CARBURETOR GASKET KIT LX277: FUEL & AIR. CARBURETOR GASKET KIT LX279: FUEL & AIR. CRUISE CONTROL 2WS: STEERING & BRAKES. JOHN DEERE WORLDWIDE COMMERCIAL & CONSUMER EQUIPMENT DIVISION 1754 January 2003 Lawn Tractors LX255, LX266, LX277, LX277AWS, LX279 and LX288 TECHNICAL MANUAL North American Version Litho in U.S.A. www.servicemanualall.com Buy, Download, Print... www.servicemanualall.com Original Factory John Deere LX255, LX266, LX277, LX277AWS, LX279, LX288 Lawn Tractors Manual is a Complete Informational Book. It will come up with the whole thing you want to do the job. Save money and time via way of means of DO-IT-YOURSELF!
John Deere Parts Diagrams, John Deere LX277 and LX279 Lawn Tractors. ELECTRICAL. ENGINE (LX277) AM131436. ENGINE (LX279) MM13660. FUEL AND AIR. LABELS. Power Train. POWER TRAIN AM123276, AM123275.
This quick parts reference guide will provide you with the most common John Deere LX277 Lawn Tractor Parts 48C Mower Deck. These John Deere Lawn Tractor Parts may include: Tune Up Kit, Spark Plug, Mower Blades, Traction Drive Belt, Transmission Belt, Mower Drive Belt, Battery, and Air Filters. If you need help finding John Deere Lawn Tractor Parts Search Using Weingartz Illustrated Diagrams to view an illustrated diagram or call us at 1-855-669-7278. Visit our YouTube channel to view How To ...
John Deere Lx277 Lawn Tractor Two Wheel Steer With 42 In Mulching Mower Deck Pc2718 2000 Model M0l277a020001 040000 Lx277 Lawn Tractor Two Wheel Steer With 42 In Mulching Mower Deck Pc2718 2001 Model M0l277a040001 060000
John Deere Model LX277 Lawn Tractor Parts - The 13-digit product identification number (serial number) (A) is located on the right-hand side frame, ju
We are a full-service John Deere dealer with world-class after sale support in parts and service. We have a huge inventory of John Deere Parts in stock and place/receive orders for parts every day. Our inventory of power equipment parts is probably the widest in the industry, which allows us to offer quick response times and to give 'real ...
John Deere LX255, LX266, LX277, LX277AWS, LX279, LX288 Lawn Tractors Technical Manual (TM1754) John Deere GT225, GT235, GT235E, GT245 Garden Tractors Technical Manual (TM1756) John Deere 2500, 2500A, 2500E Professional Greens Mower Technical Manual (TM1757) John Deere ProGator 2020, 2030 Utility Vehicle Technical Manual (TM1759)
John Deere Lx277 Lawn Tractor Two Wheel Steer With 42 In Mulching Mower Deck Pc2718 2000 Model M0l277a020001 040000 Lx277 Lawn Tractor Two Wheel Steer With 42 In Mulching Mower Deck Pc2718 2001 Model M0l277a040001 060000
Some of the parts available for your John Deere LX277 include Electrical & Gauges, Hay Tool, Lawn and Garden and Specialty Belts, Seats | Cab Interiors, Sunbelt - Belts, Sunbelt - Blades, Sunbelt - Equipment. Choose your Sub-Category or use the "Search products within this category" search bar just above.
John Deere Lx277 Engine Diagram Excellent Wiring Diagram Products. Lx178 Wiring Diagram Wiring Schematic Diagram. Amazon Com John Deere Gy21127 Wiring Harness Industrial Scientific. Https Weingartz Com John Deere Drilldown 4275 171231 Lx279 Lawn Tractor With 42 In Convertible Mower Deck Pc2718.
Model LX280. The 13-digit product identification number (serial number) (A) is located on the right-hand side frame, just below engine compartment. Click here for 42-inch 42C Mower Deck Parts for LX280. Click here for 48-inch 48C Mower Deck Parts for LX280. Click here for 54-inch 54C Mower Deck Parts for LX280.
John Deere AG, Lawn & Garden and CWP Equipment Parts Search. John Deere parts lookup tool and diagram is an incredible online source. It is a complete catalog that shows you detailed parts diagrams of every part of your machine. This online parts catalog is robust and easy to use. Searching for your John Deere parts online has never been easier.
John Deere LX277 Lawn and Garden Tractor Service Manual John Deere LX277 Lawn and Garden Tractor Technical Manual TM1754 615 Pages in .pdf format 77.5 MB in .zip format for super fast downloads! This factory John Deere Service Manual Download will give you complete step-by-step information on repair, servicing, and preventative maintenance for your John … Continue reading "John Deere LX277 ...
John Deere Convertible Mower 48 Inch Lx255 Lx266 Lx277 Lx277 W Aws Lx279 Lx288 Gt225 Gt235 Lt170 Mower Deck Chute And Gage Wheels 2 3
John Deere LX277 Lawn Tractor Parts Quick Parts. (855) 669-7278 4 hours ago CALL US AT (855) 669-7278. John Deere LX277 Lawn Tractor Parts 48C Mower Deck Quick Reference Guide. Click the part number below to view and order John Deere LX277 Lawn Tractor Parts 48C Mower Deck, or search illustrated diagrams to determine the part you need.
John Deere Lx277 Wiring Diagram. TM JANUARY JOHN DEERE WORLDWIDE COMMERCIAL . LX, LXAWS, LX and LX TECHNICAL MANUAL North American Version Litho No - Defective fuel shutoff solenoid, switch or wiring. LX, LX, LXAWS, LX, and LX Lawn Tractors. PIN ( Spark Plug Gap: Model LX and LXAWS 1 mm ( in). Spark Plug Gap: .
You can use the print selector to print just the drawing or the list. (or both) After you get the JD part numbers go to John Deere Parts Online Discount Store: Green Farm Parts and type the part number into the search bar. Or you can put the part numbers into google and it may find other dealers or items listed on ebay.
The John Deere LX279 was produced from 1999 to 2003. It came equipped with a hydrostatic drive transmission, 42" or 48" Mower Deck and 17hp Kawasaki Engine. Regular Maintenance should be performed on the LX279 every 50 hours and should include Spark Plug, Air Filter, Oil Filter with 1.9qts oil and sharpen or replace mower blades.
LXLawn-Tractor-WithIN-Convertible-Mower-Deck--PC Parts Diagram. John Deere LX255 LX266 LX277 LX277AWS LX279 LX288 Lawn Tractor TM1754 Technical Manual PDF. Attachments · AIR FILTER HEADLIGHT WIRING HARNESS: ELECTRICAL.John Deere Wiring Diagram. Good day beloved reader.

I Have A Deere F 510 The Primary Drive Belt Keeps Breaking I Have Replaced It 3 Times I Have Also Replaced The
John Deere Lx172 Lawn Tractor Without Mower Deck Pc2317 1994 Model M0l172a090001 110000 Lx172 Lawn Tractor Without Mower Deck Pc2317 1995 Model M0l172a110001 130000 Lx172 Lawn Tractor Without Mower Deck Pc2317 1997 Model M0l172a160001 999999
0 Response to "38 john deere lx277 parts diagram"
Post a Comment