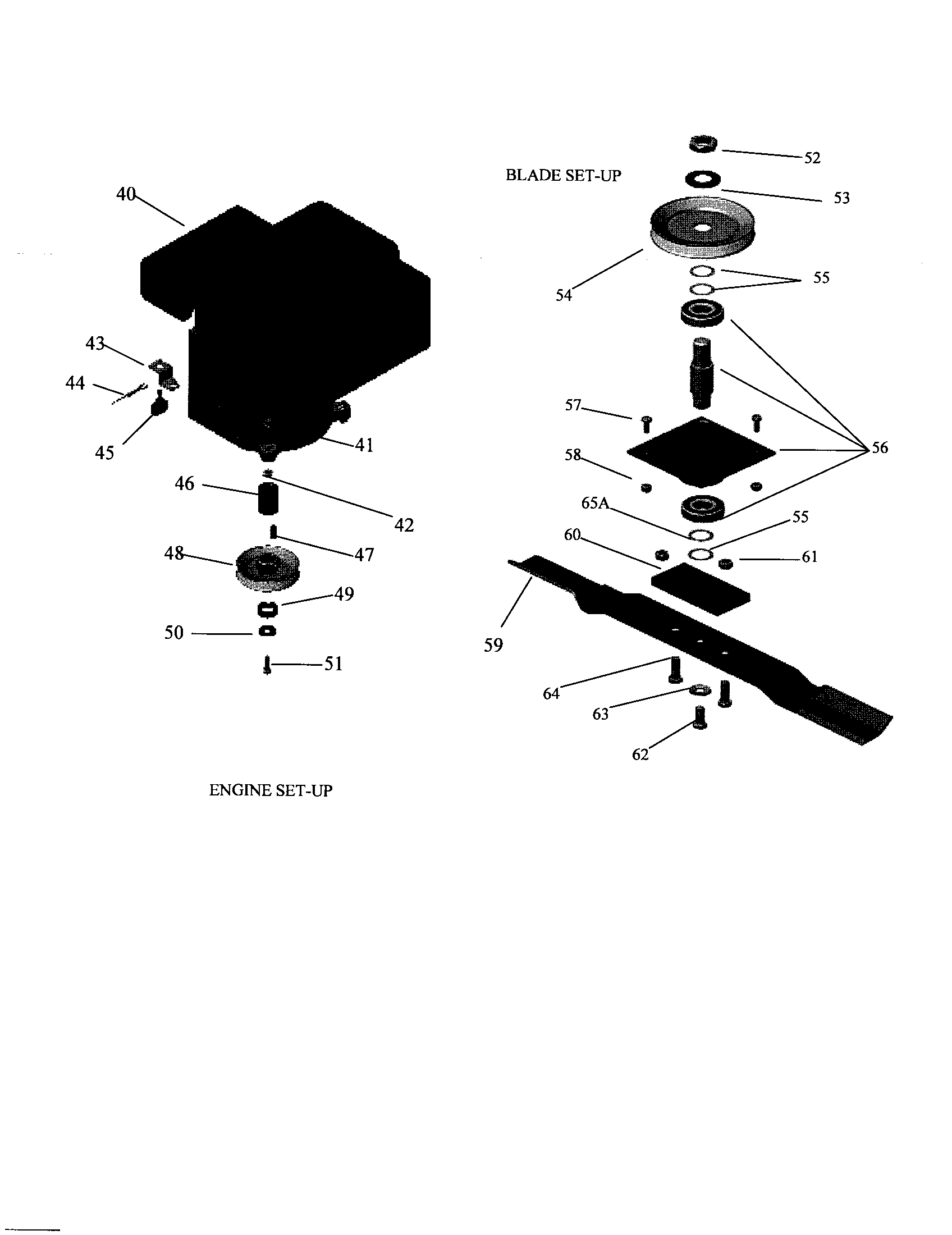
39 swisher pull behind mower parts diagram
84 finish mower. The FDR16 Models are available in 48" (FDR1648), 60" (FDR1660) and 72" (FDR1672) widths. Discbine® 209/210 Side-Pull Disc Mower-Conditioners Discbine® 310/312 Center-Pivot Disc Mower-Conditioners Discbine® 313/316 Center-Pivot Disc Mower-Conditioners The back of our mower is designed to be rolled across the ground on a heavy duty 6” roller and the front is picked up with ... Click a diagram to see the parts shown on that diagram. In the search box below, enter all or part of the part number or the part’s name. Not all parts are shown on the diagrams—those parts are labeled NI, for “not illustrated”. We encourage you to save the model to your profile, so it’s easy to access parts and manuals for your appliance whenever you log in. For DIY troubleshooting ...
09.06.2018 · I had been looking for something to cut my overgrown uneven 1 acre lot. Bought a 2nd hand lawn mower but the terrain was just too rough. Someone told me about a pull behind an ATV bush hog. Looked at the “Dirty Tools.” Brand but the reviews were very negative. Found the Swisher Brand and went to the local Northern Tool store. Reviews were ...

Swisher pull behind mower parts diagram
44” rough cut trail cutter owner’s manual swisher mower, 1602 corporate drive, p.o. box 67, warrensburg, missouri 64093 phone (660) 747-8183 fax (660) 747-8650 used. Trail Mowers equipped with an electric start engine will need a battery (sold separately). Swisher recommends using a standard “12N12A” battery. • Make sure the tow vehicle parking brake is set, mower is level, and blades are disengaged. Engine must be level to accurately check and fill oil. Do not overfill. Swisher pull behind mower parts diagram. Trail mowers equipped with an electric start engine will need a battery sold separately. Save swisher pull behind mower parts to get e mail alerts and updates on your ebay feed. Also see for t1260 t1360 t1460. 44 finish cut trailmower. Such as trail mowers log splitters zero turn riders etc start with ...
Swisher pull behind mower parts diagram. Every Swisher product has a model and serial number on a silver decal. ... Serial numbers are VERY important for choosing the right manual as this will ... 30.10.2021 · One kit is needed for walk-behind mower decks, as well as for 42-inch tractor decks. I am looking to put a bagger with chute on it. High Wheel Push (10730/17730) The 11" high rear wheels assist you in tackling uneven or rough terrain with the powerful, reliable and easy to start Kohler engine. Remove the spring from the deck idler bracket. This tractor has the loved 16 HP opposed twin cylinder ... contained within this manual. This warranty does not apply to any product of Swisher Mower Co., Inc., that has been subject to alteration,.20 pages by NO MODEL · Cited by 3 — manual. When you see this symbol, carefully read the message that ... Securely attach safety tether (6736) to tow vehicle and to the TrailMower.20 pages
Mower Deck 42-Inch diagram and repair parts lookup for MTD 13AX795S004 - MTD Gold Lawn Tractor (2011) Spring, Extn, . (2) Idler Pulleys - Replaces MTD 756-04129B. Available in all colors, sizes and widths, including 20-inch, 21-inch, 28-inch, 30-inch, 33-inch, 38-inch, 42-inch, 46-inch, 50-inch and 54-inch. com: Toll Free 866-914-1252 Toll Free FAX: 877-571-4602 Mon-Fri 9am-5pm Riding mowers ... Academia.edu is a platform for academics to share research papers. Swisher pull behind mower parts diagram. From belts engine guards transmission idlers handlebars wire mount brackets mower blades and morewe make sure to provide an array of replacement swisher mower parts and other important pieces you might need. After the knuckle busting installation this mower has 4 rotors two directly under the engine so ... find quality OEM parts. For All Your Outdoor Power Equipment 800-816-5849
manual. When you see this symbol, carefully read the message that ... Place mower behind vehicle and back vehicle up to desired attaching position.16 pages OFFSET & CENTER TOW HITCH BAR ASSEMBLY 1. Lay out parts according to the diagram. 2. Insert part 661A into part 662 and pin with the hitch pin (H11). 3. Insert part 661 into part 661A. Choose from the 3 holes to set the desired hitch length. Pin with a hitch pin. 4. Part 662 slides into the front tube of the frame. Again, choose from the 3 ... OFFSET & CENTER TOW HITCH BAR ASSEMBLY 1. Lay out parts according to the diagram. 2. Insert part 661A into part 662 and pin with the hitch pin (H11). 3. Insert part 661 into part 661A. Choose from the 3 holes to set the desired hitch length. Pin with a hitch pin. 4. Part 662 slides into the front tube of the frame. Again, choose from the 3 ... data:image/png;base64,iVBORw0KGgoAAAANSUhEUgAAAKAAAAB4CAYAAAB1ovlvAAACs0lEQVR4Xu3XMWoqUQCG0RtN7wJck7VgEW1cR3aUTbgb7UUFmYfpUiTFK/xAzlQWAz/z3cMMvk3TNA2XAlGBNwCj8ma ...
Swisher Replacement Parts The care and proper upkeep of any machine are important; that’s why we have an extensive selection of Swisher replacement parts. From belts, engine guards, transmission idlers, handlebars, wire mount brackets, mower blades, and more—we make sure to provide an array of replacement Swisher mower parts and other ...
manual. When you see this symbol, carefully read the message that ... behind machines across slopes. ... ATTACHING TRAIL MOWER TO TOW VEHICLE.24 pages
It is not meant for speeds exceeding 5 MPH. ATTACHING TRAILMOWER TO TOW VEHICLE. • Place mower behind vehicle and back vehicle up to desired attaching position.16 pages
swisher mower and machine co. inc. od82-44 rugged cut decal od29-danger decal od39-swisher flag decal od33-5mph decal od36-deflector decal od55-danger decal od45-warning decal od10-engage decal od99-off/run decal od28-off/run/start decal 10
This replacement belt works with select Swisher finish cut mowers. Swisher Belt. Returnable. Day. Used With Equipment Type. Pull-Behind Mower. transportation of parts submitted for replacement or repair under this warranty The 44” TrailMower is designed to produce a quality finish cut on lawns, golf courses, towed behind an ATV, golf cart, lawn tractor, or other approved vehicle.
A dictionary file. dict_files/eng_com.dic This class can parse, analyze words and interprets sentences. It takes an English sentence and breaks it into words to determine if it is a phrase or a clause. It can also counts the total number of words in a sentence, checks if a word is a palindrome and can generate a new sentence with almost the same meaning using synonyms and other...
Swisher pull behind mower parts diagram. Trail mowers equipped with an electric start engine will need a battery sold separately. Save swisher pull behind mower parts to get e mail alerts and updates on your ebay feed. Also see for t1260 t1360 t1460. 44 finish cut trailmower. Such as trail mowers log splitters zero turn riders etc start with ...
used. Trail Mowers equipped with an electric start engine will need a battery (sold separately). Swisher recommends using a standard “12N12A” battery. • Make sure the tow vehicle parking brake is set, mower is level, and blades are disengaged. Engine must be level to accurately check and fill oil. Do not overfill.
44” rough cut trail cutter owner’s manual swisher mower, 1602 corporate drive, p.o. box 67, warrensburg, missouri 64093 phone (660) 747-8183 fax (660) 747-8650
0 Response to "39 swisher pull behind mower parts diagram"
Post a Comment