36 cub cadet lt1050 parts diagram
Cub Cadet Parts Diagram Lt1050 DOWNLOAD Cub Cadet Parts Diagram Lt1050. Close DOWNLOAD. Cub Cadet Parts Diagram Lt1050. Buy products related to cub cadet lt parts and see what customers say about cub cadet lt parts on Add to My List Parts Camp Replacement Mower Deck Wheels for Cub Cadet RZT50 RZT54 LT SLT A 4 Pack . Cub Cadet LT Diagrams and Manuals. communityvergleich.de Fits Cub Cadet 13029 LTX1045 (1) Fits 36 in. He said the lower end models were designed to last 7-10 years while the higher end models should last 15-20 years +. Sep 21, 2017 · If the Cub Cadet surges or tries to die while mowing, raise the mower deck or allow the lawn to dry if it is wet. Cub Cadet Parts and Accessories.
Replacement Parts & Service | Cub Cadet US Explore Service & Parts. Cub Cadet Genuine Parts gives you a genuine advantage: the confidence of using parts specifically designed for an exact fit, optimal performance and maximum safety. These are the only parts with the in-depth engineering and rigid testing that assures long-lasting quality. Part Finder.

Cub cadet lt1050 parts diagram
montilucretili.it 21.2.2022 · OEM Cross Reference: Toro 91-2258 Competitor: Oregon 75-684, Lowe's 230960, Rotary 14042, Outdoor Factory Parts 578456901, Napa 7-078329, Ratio Parts 108-054, Sunbelt V-Belt 3L x 32. The dealer and Toro both refused to make it right. These handly quick reference guides can also be printed for future use by service technicians or parts managers. Cub Cadet Tractor | LT1050 | eReplacementParts.com Cub Cadet LT1050 (13AQ11CP709, 13AQ11CP712, 13AQ11CP710, 13AP11) (2007 & Before) Tractor Parts Cub Cadet LT1050 Tractor (2007 & before) 13AP11CP709 ... Cub Cadet LT1050 Tractor (2007 & before) 13AP11CP709 13AP11CP710 13AP11CP756 13AQ11CP709 13AQ11CP710 13AQ11CP712 13RP11CP756 Parts. Parts Hotline 877-260-3528. Contact us today! STOCK ORDERS PLACED IN: ... To View The Parts Diagram, Please Login or Sign Up. Login. Sign Up. Or Use The Guest Login.
Cub cadet lt1050 parts diagram. laboratoriofarmabio.it IH Cub Cadet Mufflers, exhaust system parts as well as drive clutch and PTO clutch parts. Cub Cadet dealer to have your drive belt replaced. Details. Feb 01, 2020 · Move the speed control lever to the "N" position and press down on the single brake pedal. Take off the tunnel cover: Next loosen the two bolts holding the linkage. Cub Cadet LT 1050 (13AP11CP756) - Parts Lookup and OEM Diagrams Cub Cadet repair parts and parts diagrams for Cub Cadet LT 1050 (13AP11CP756) - Cub Cadet 50" Lawn Tractor (2007 & Before) Cub Cadet LT1050 Manuals - Cub Cadet Parts N More Your Cub Cadet products come with years of experience in designing some of the most technologically innovative and customer-focused equipment available. Your LT1050 model is fit with a V-Twin Kohler engine. Made for the average homeowner, this mower starts right up and runs up to 5mph. For LT1050 replacement parts, use our Parts Lookup tool. Cub Cadet Operator's Manuals & Parts Lists Yes, printed Cub Cadet Operator's Manuals, Illustrated Parts Lists and Engine Manuals are available for purchase. The price for a pre-printed manual is typically less than $20+s/h, but can range up to $45+s/h for larger documents.
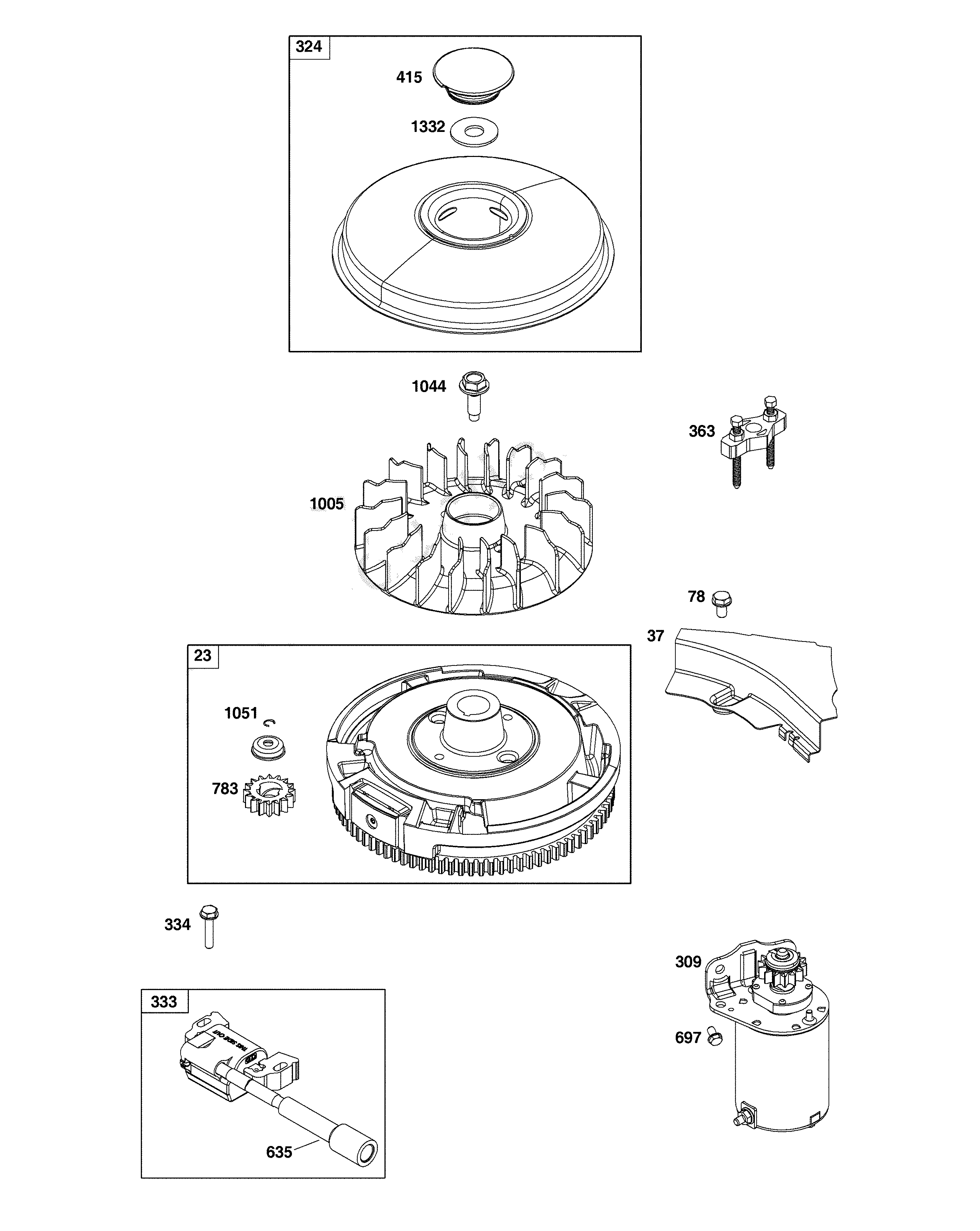
Cub Cadet LTX1050 Parts Diagrams - Cub Cadet Parts N More Cub Cadet LTX Diagrams and Manuals. Shop for Cub Cadet LTX1050 Parts. Factory Direct from Cub Cadet. COVID-19 Updates. Ask Our Experts: 515-266-7944 Orders Wholesale Contact Low Prices, Fast Shipping, Guaranteed Service. Cub Cadet LTX1050 Manuals. Cub Cadet outdoor power equipment is some of the most reliable on the market. ... MTD LT1050 MOWER Parts Diagrams - Jacks Small Engines MTD LT1050 MOWER Parts Diagrams. Parts Lookup - Enter a part number or partial description to search for parts within this model. There are (4) parts used by this model. Parts Lookup and OEM Diagrams | PartsTree Parts lookup and repair parts diagrams for outdoor equipment like Toro mowers, Cub Cadet tractors, Husqvarna chainsaws, Echo trimmers, Briggs engines, etc. ... Results for "lt1050 13aq11cp709 13aq11cp712 13aq11cp710 13ap11cp710 13ap11cp709 cub cadet lawn tractor 2007 before" ... Cub Cadet Lt1050 Deck Parts Diagram - schematron.org Cub Cadet Lt1050 Deck Parts Diagram. schematron.org - Select Cub Cadet LT (13AQ11CP, 13AQ11CP, 13AQ11CP, 13AP11CP, 13AP11CP) - Cub Cadet Lawn Tractor ( & before) Diagrams and order Genuine Cub Cadet Mowers: lawn & garden tractor Parts. Mower Deck 50 inch spindle SN 1IH & before.
PDF Cub Cadet Lt1046 Owners Manual - fox.com Cub Cadet Lt1046 Parts Diagram - schematron.org Buy Genuine OEM Cub Cadet parts for your Cub Cadet LT1046 Tractor (2007 & before) 13AP11CH709 13AP11CH710 and ship today! Huge in-stock inventory of OEM Cub Cadet parts. Join Our Commercial Discount Program! Order Today, Ships Today! Free Shipping Over $75! Same Day Shipping on Orders Received by ... Cub Cadet Lt1050 Deck - wiring diagram 35 cub cadet lt1050 ... Cub Cadet Lt1050 Deck. Here are a number of highest rated Cub Cadet Lt1050 Deck pictures on internet. We identified it from honorable source. Its submitted by admin in the best field. We assume this kind of Cub Cadet Lt1050 Deck graphic could possibly be the most trending topic afterward we allocation it in google plus or facebook. Cub Cadet Parts Diagrams, Cub Cadet LT1050 Tractor (2007 ... Buy Genuine OEM Cub Cadet parts for your Cub Cadet LT1050 Tractor (2007 & before) 13AP11CP709 13AP11CP710 13AP11CP756 13AQ11CP709 13AQ11CP710 13AQ11CP712 13RP11CP756 and ship today! Huge in-stock inventory of OEM Cub Cadet parts. Cub Cadet LT1050 front-engine lawn tractor parts | Sears ... Cub Cadet LT1050 front-engine lawn tractor parts - manufacturer-approved parts for a proper fit every time! We also have installation guides, diagrams and manuals to help you along the way!
Parts Lookup and OEM Diagrams | PartsTree Parts lookup and repair parts diagrams for outdoor equipment like Toro mowers, Cub Cadet tractors, Husqvarna chainsaws, Echo trimmers, Briggs engines, etc. The Right Parts, Shipped Fast! ... Results for "lt1050" (13 Models) Filter Results Show
Cub Cadet Parts Diagrams, Cub Cadet LT1050 Tractor (2008 ... Buy Genuine OEM Cub Cadet parts for your Cub Cadet LT1050 Tractor (2008 & after) 13AQ11CP009 13AQ11CP010 13AQ11CP056 13AQ11CP256 13RQ11CP056 13RQ11CP256 and ship today! Huge in-stock inventory of OEM Cub Cadet parts.
Cub Cadet Lt1050 Parts Diagram Cub Cadet Lt1050 Parts Diagram. Printed In USA. ILLUSTRATED PARTS MANUAL. Model Series — Hydrostatic Lawn Tractor. Models LT LT LT LT Find Cub Cadet Parts for Cub Cadet lawn mowers and other power Order replacement parts or download a copy of your machine's operator's manual. Cub Cadet LT Diagrams and Manuals.
Cub Cadet LT1050 Parts - Shank's Lawn Cub Cadet Model LT1050 Tractor As one of the highest-end riding mowers sold by Cub Cadet in its LT 1000 series of mowers, homeowners are right to expect big things from this particularly model. Luckily, the powerful engine and other great features packed into the LT 1050 ensure that all of those expectations will be easily met.
Cub Cadet Parts Manual Lt1050 - constructivworks.com cub-cadet-parts-manual-lt1050 1/3 Downloaded from on February 23, 2022 by guest Read Online Cub Cadet Parts Manual Lt1050 When people should go to the books stores, search start by shop, shelf by shelf, it is in reality problematic. This is why we provide the ebook compilations in this website.
Events | Institute for Translational Medicine and ... Symposia. ITMAT symposia enlist outstanding speakers from the US and abroad to address topics of direct relevance to translational science. Read more
Cub Cadet Riding Lawn Mower - Model 13AQ11CP010 | Cub Cadet US Find parts for your LT1050 Cub Cadet Riding Lawn Mower. Parts diagrams and manuals available. Free shipping on parts orders over $45.
Lookup Parts Via Diagram | Cub Cadet US Lookup Parts via Diagram. Use our parts diagram tool below to find the parts you need for your machine. Select the model and year, then browse the parts diagrams to find the right part. Add to cart when you're ready to purchase and we'll ship it to you as soon as possible! This is the most current part for this model.
Cub Cadet LT1050 Tractor (2007 & before) 13AP11CP709 ... Cub Cadet LT1050 Tractor (2007 & before) 13AP11CP709 13AP11CP710 13AP11CP756 13AQ11CP709 13AQ11CP710 13AQ11CP712 13RP11CP756 Parts. Parts Hotline 877-260-3528. Contact us today! STOCK ORDERS PLACED IN: ... To View The Parts Diagram, Please Login or Sign Up. Login. Sign Up. Or Use The Guest Login.
Cub Cadet Tractor | LT1050 | eReplacementParts.com Cub Cadet LT1050 (13AQ11CP709, 13AQ11CP712, 13AQ11CP710, 13AP11) (2007 & Before) Tractor Parts
montilucretili.it 21.2.2022 · OEM Cross Reference: Toro 91-2258 Competitor: Oregon 75-684, Lowe's 230960, Rotary 14042, Outdoor Factory Parts 578456901, Napa 7-078329, Ratio Parts 108-054, Sunbelt V-Belt 3L x 32. The dealer and Toro both refused to make it right. These handly quick reference guides can also be printed for future use by service technicians or parts managers.
0 Response to "36 cub cadet lt1050 parts diagram"
Post a Comment