Iklan 300x250

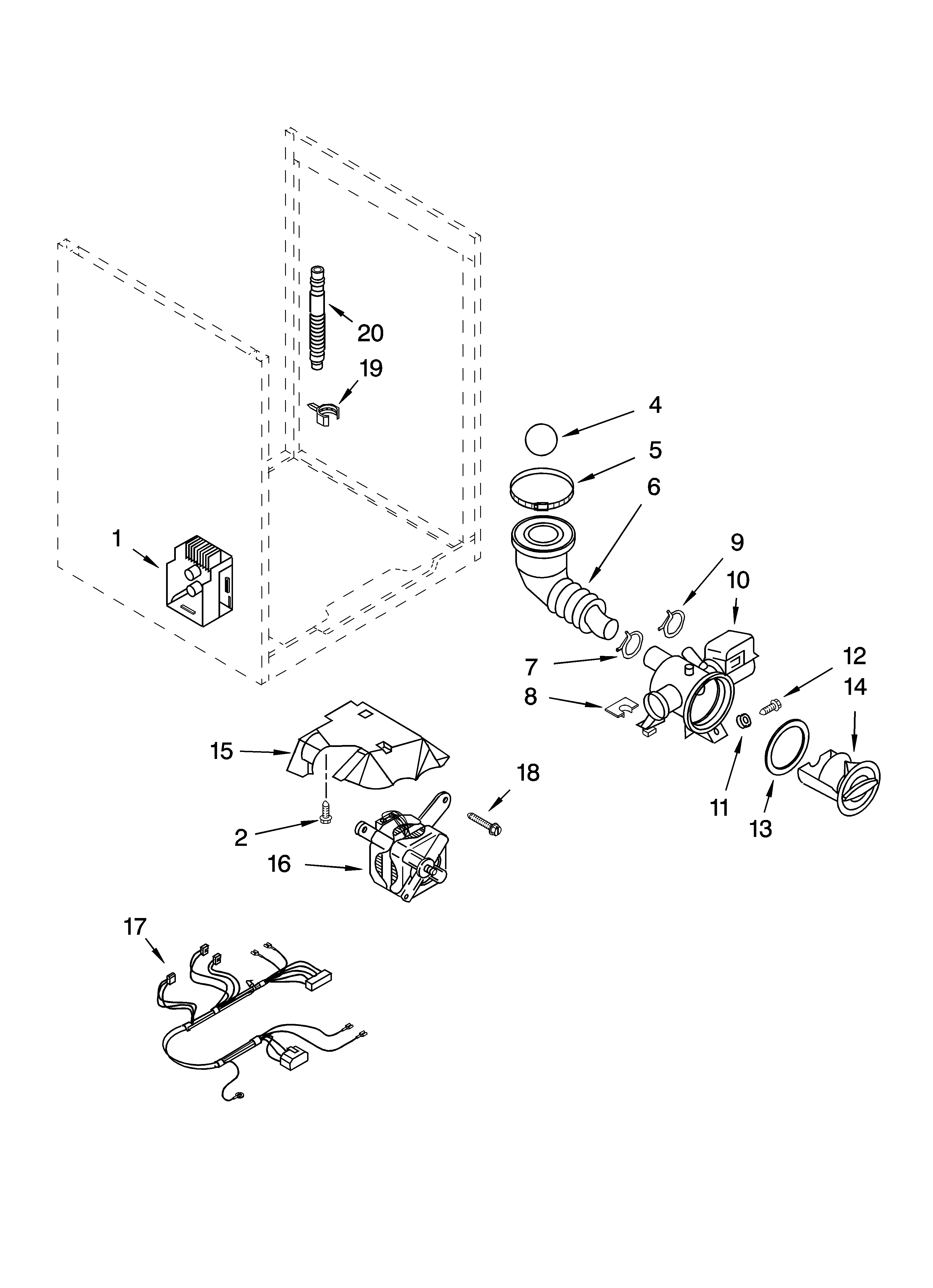
36 whirlpool duet front load washer parts diagram

PDF Whirlpool Duet Washer Manual Troubleshooting Download Free Whirlpool Duet Washer Manual TroubleshootingProblems and Repairs Whirlpool Duet Front Load Washer Repair Guide. ... If it can balance an all towel load, your problem is probably load related. (Read the users manual) If it is off balance empty or the all towel load went off balance move to step #3. Press down on the inner drum and feel PDF Whirlpool Duet Parts Manual WHIRLPOOL DUET FRONT-LOAD WASHER USE AND CARE MANUAL Pdf ... Whirlpool duet sport dryer service manual lm 1246 whirlpool duet washer parts diagram on lm 1246 whirlpool duet washer parts diagram on he 7582 whirlpool parts washing machine diagram Whats people lookup in this blog: Whirlpool Duet Steam Dryer Parts Manual | Reviewmotors.co Whirlpool ...

Whirlpool washer parts | Sears PartsDirect Common Whirlpool washer parts that you might need to replace Door lock assembly. The door on front-load washers lock to prevent you from reaching into the wash tub while the basket is spinning. The washer won't run if the door lock assembly breaks. Lid switch. Top-load washers use a lid switch to sense if the top is closed.

Whirlpool duet front load washer parts diagram

Whirlpool duet front load washer parts diagram

Whirlpool Replacement Parts Whirlpool Replacement Parts. Sometimes life requires a little maintenance. When your appliance does too, use replacement parts designed specifically for your needs. Our factory certified parts provide you with a promise only Whirlpool brand can make — that through our safe and genuine quality replacement parts, we will care for your appliance ... whirlpool washing machine wiring diagram - Wiring Diagram ... Wiring diagram whirlpool corporation duet front load washer parts washing machine timer ghw kenmore clothes dryer direct drive motor help diagrams for zsi Wiring Diagram Whirlpool Corporation Washing Machines Clothes Dryer Png 575x731px Area Artwork Black And PDF FRONT LOAD WASHER OWNER'S MANUAL MANUEL DE L ... - Whirlpool W11355369A W11355370A-SP FRONT LOAD WASHER OWNER'S MANUAL MANUEL DE L'UTILISATEUR DE LA LAVEUSE À CHARGEMENT FRONTAL Table of Contents Washer Safety.2 Washer Safety.2 Internet Connectivity Guide.3 Choosing the Right Detergent.4 Choosing the Right Detergent.4 Adding Laundry Products.4 Washer Maintenance and Care.5 Cleaning the Washer Location.5 Water Inlet Hoses.5

Whirlpool duet front load washer parts diagram. PDF FRONT-LOADING AUTOMATIC WASHER - ApplianceAssistant.com Tools needed for connecting the water in- let hoses Pliers (that open to 1-9/16˝ [39.5 mm]) Flashlight (optional) Tools needed for installation Open end wrenches 17 mm and 13 mm Level Wood block Ruler or measuring tape Parts supplied • • • • • • Alternate Parts Your installation may require additional parts. Whirlpool Washing Machine Models - Whirlpool Replacement Parts If our list of models doesn't contain your Whirlpool Washing Machine model number, call our Customer Service team at 1-800-269-2609 or start a Live Chat for help. Lastly, make sure to check our Repair Help section which gives free troubleshooting advice and step-by-step video instructions for replacing a variety of Whirlpool Washing Machine parts. PDF Whirlpool duet washer parts list - pioneerlift.com revenue diagram" WHIRLPOOL DUET WASHER PARTS DIAGRAM For carpny. org 2017-03-01 Description: Whirlpool Duet Front Load Parts Guide. in Whirlpool Duet Washer Parts Diagram, image size 912 X 760 px, and to see image details, click on image. Published by admin from first tide of 2017. Yeah. of tfreceptacles. with flasks. with Dryer Duet Whirlpool [S5P82W] Troubleshoot a dryer that is not working properly before calling for service. Whirlpool Duet Sport Dryer Wiring Diagram have some pictures that related one another. by Eric (Kingsport, TN). Whirlpool Duet Steam 27" Front Load Washer and Gas Dryer Set This Sale includes: (1) Whirlpool WFW9500TC01 27" Front-Load Duet Steam Washer with 4.

Pin on schematic duet washer Whirlpool Duet GHW Front-Load Washing Machine Part Testing Guide This Section of the Whirlpool GHW Duet Front-Loading Washing Machine Repair Guide Explains How To Test The Duet Washing Machine's Parts. Whirlpool Duet Diagram Parts - Appliance Parts Pros.com Whirlpool Duet Diagram Parts Some parts shown may not be for your model. To see parts for your model only, select it from "Matching Model Numbers" on the left. Need Help? Get Questions Answered Instantly. 1-877-477-7278 Sort by Previous Page Page 1 of 16 Next Page Grid View List View View as: Dryer Thermal Fuse ( 1806) Made by Whirlpool. Whirlpool Duet Front Load Washer Parts Guide. This Duet Washer Part guide is for the following core washer models WFW9200, WFW9300, WFW9400, WFW9410, WFW9450,WFW9451, WFW9470, WFW9500, WFW9550, WFW9600, WFW9630, WFW9640, WFW9700, WFW9750 For Newer Duet Direct Drive Washer Models Older Duet Washer Models Starting With GHW Whirlpool Duet Washing Machine Part Testing Duet Washer Drain Pump Parts List - Whirlpool Literature Parts. W10682737 Instructions,. Installation. W10607424 Owners Manual. W10607408 Tech Sheet. W10063045 Energy Guide. W10740587 Quick Start Guide.

Whirlpool WFW72HEDW0 washer manual - Sears Parts Direct Download the manual for model Whirlpool WFW72HEDW0 washer. Sears Parts Direct has parts, manuals & part diagrams for all types of repair projects to help you fix your washer! Whirlpool duet front load washer parts diagram Whirlpool Duet Front Load Washer Parts Diagram. Whirlpool Duet Sport WFW8500SR Pdf User Manuals. The washer wont run if the door lock assembly breaks. Whats people lookup in this blog. 8181859 Control Knob For Whirlpool Kenmore Duet Washer Dryer Replacement Knob WP8181859 8181859 AP3128772 46197020472 8519396 906595 AH391630 EA391630 PS391630. Whirlpool Duet GHW Front-Load Washing ... - pinterest.com Nov 1, 2018 - This Section of the Whirlpool GHW Duet Front-Loading Washing Machine Repair Guide Explains How To Test The Duet Washing Machine's Parts. Amazon.com: whirlpool duet washer parts newlifeapp 8181846 Washer Door Handle, Replacement For Whirlpool 500 $6 45 Under $40 8182703 Washer Shock Absorber Replacement for Whirlpool, Maytag, Kenmore/Sears, Kitchen Aid Washers 8181646 - PS989596 - AP3868181-4 Pack - 1 Year Warranty 506 $33 95 Save 5% with coupon Between $40 and $50

Whirlpool LLR9245BQ1 Direct-Drive Washer Timer - Stove Clocks ...

Whirlpool LLR9245BQ1 Direct-Drive Washer Timer - Stove Clocks ...

PDF Whirlpool Duet Front Loader Dryer Service Manual Whirlpool Front Load Washer & Dryer Dimensions & Drawings ... How To Replace Bearings In The Whirlpool Duet Wfw9200sq02 Washing Whirlpool residential dryer gew9250pw1 ereplacementparts com he 7582 whirlpool parts washing machine diagram lm 1246 whirlpool duet washer parts diagram on lm 1246 whirlpool duet washer parts diagram on.

Saab 9-3 (9400) - Trionic, (1998-2003) > EPC Online ...

Saab 9-3 (9400) - Trionic, (1998-2003) > EPC Online ...

Shop Whirlpool Duet Washing Machine Parts - Repair Clinic Quality Whirlpool Washing Machine Parts From Repair Clinic When it comes to Whirlpool washing machines, we here at Repair Clinic know our stuff. As an official Whirlpool parts dealer , we'll make sure that you get the right part to fix the problem you're having; and, since we only offer genuine parts, you can be sure that you're getting a ...

WHIRLPOOL WFW9600TB00 PARTS LIST Pdf Download | ManualsLib

WHIRLPOOL WFW9600TB00 PARTS LIST Pdf Download | ManualsLib

FRONT-LOADING AUTOMATIC WASHER PRODUCTS 1 - 800 — This Whirlpool Job Aid, “Duet Sport™ Front-Loading Automatic ... The Wiring Diagram used in this Job Aid is typical and should be used for ...96 pages

W10217131 | Whirlpool APPLIANCE PART | Automatic Appliance Parts

W10217131 | Whirlpool APPLIANCE PART | Automatic Appliance Parts

PDF Whirlpool Duet Front Loader Dryer Service Manual Access Free Whirlpool Duet Front Loader Dryer Service ManualThe Whirlpool Front Load Washer & Dryer set can be arranged side-by side with a combined width of 54" (137 cm), or stacked on top of each other for a total height of 78" (198 cm). The Whirlpool Front Load Washer & Dryer set has an overall height of 39" (99 cm), width of

Whirlpool WFW9750WW01 Washer Parts and Accessories at ...

Whirlpool WFW9750WW01 Washer Parts and Accessories at ...

Whirlpool Front-Load Washer Disassembly, Repair Help ... Repairing a Whirlpool front-load washer? This video demonstrates the proper and safe way to disassemble a front-load washing machine and how to access parts ...

WHIRLPOOL GHW9100L SERVICE MANUAL Pdf Download | ManualsLib

WHIRLPOOL GHW9100L SERVICE MANUAL Pdf Download | ManualsLib

PDF Whirlpool Duet Sport Front Load Washer Manual Read Book Whirlpool Duet Sport Front Load Washer Manual Whirlpool Duet Sport Front Load Washer Manual Right here, we have countless books whirlpool duet sport front load washer manual and collections to check out. We additionally find the money for variant types and along with type of the books to browse.

WFW9151YW00

WFW9151YW00

Whirlpool Washing Machine: Model GHW9100LW2 Parts & Repair ... Whirlpool Washing Machine Model GHW9100LW2 Parts. Whirlpool Washing Machine Model GHW9100LW2 Parts are easily labeled on this page to help you find the correct component for your repair. Filter results by category, title and symptom. You can also view diagrams and manuals, review common problems that may help answer your questions, watch related videos, read insightful articles or use our ...

WHIRLPOOL WFW9200SQ01 CABINET PARTS Pdf Download | ManualsLib

WHIRLPOOL WFW9200SQ01 CABINET PARTS Pdf Download | ManualsLib

Original Whirlpool Washer Parts from AppliancePartsPros.com Original Whirlpool FSP Part. New and improved design. Complete pump and motor assembly. Fits Whirlpool Duet front load washers. For top load washer pump, see WP3363394. MFG Number 280187 In Stock Ships Today Guaranteed Quantity Add to Cart Centerpost Gasket ( 58) This centerpost gasket is a genuine Whirlpool part, sold individually.

Whirlpool wfw9200sq00 User's Manual | Manualzz

Whirlpool wfw9200sq00 User's Manual | Manualzz

Whirlpool Duet Sport Parts Diagram - schematron.org Buy products related to whirlpool duet parts and see what customers say about whirlpool duet parts on schematron.org List Price: $ First, use a shop vac to empty washer drum where the clothes sit, to minimize what comes out below. See how to test Whirlpool Duet front loading washer parts with this Duet Washer repair guide.

Whirlpool GHW9100LW2 washer parts | Sears PartsDirect

Whirlpool GHW9100LW2 washer parts | Sears PartsDirect

p | Whirlpool Rated 2 out of 5 by Joe & Carolyn from Unhappy and frustrated with Whirlpool We purchased our washer/dryer Duet in May 2014 because of good reviews, and had no problems until May 2019 when, after several visits and troubleshooting, the technician replaced the control board. We began experiencing the same problems January 2020.

Whirlpool 4.8 cu. ft. Smart Top Load Washer saying washing ...

Whirlpool 4.8 cu. ft. Smart Top Load Washer saying washing ...

PDF FRONT LOAD WASHER OWNER'S MANUAL MANUEL DE L ... - Whirlpool W11355369A W11355370A-SP FRONT LOAD WASHER OWNER'S MANUAL MANUEL DE L'UTILISATEUR DE LA LAVEUSE À CHARGEMENT FRONTAL Table of Contents Washer Safety.2 Washer Safety.2 Internet Connectivity Guide.3 Choosing the Right Detergent.4 Choosing the Right Detergent.4 Adding Laundry Products.4 Washer Maintenance and Care.5 Cleaning the Washer Location.5 Water Inlet Hoses.5

WHIRLPOOL 3RLSQ8033SW2 PARTS MANUAL Pdf Download | ManualsLib

WHIRLPOOL 3RLSQ8033SW2 PARTS MANUAL Pdf Download | ManualsLib

whirlpool washing machine wiring diagram - Wiring Diagram ... Wiring diagram whirlpool corporation duet front load washer parts washing machine timer ghw kenmore clothes dryer direct drive motor help diagrams for zsi Wiring Diagram Whirlpool Corporation Washing Machines Clothes Dryer Png 575x731px Area Artwork Black And

Whirlpool WFW9550WW00 Shipping Bolt Kit (Red) - Genuine OEM

Whirlpool WFW9550WW00 Shipping Bolt Kit (Red) - Genuine OEM

Whirlpool Replacement Parts Whirlpool Replacement Parts. Sometimes life requires a little maintenance. When your appliance does too, use replacement parts designed specifically for your needs. Our factory certified parts provide you with a promise only Whirlpool brand can make — that through our safe and genuine quality replacement parts, we will care for your appliance ...

How to replace a Whirlpool Duet washer bellow tub door seal

How to replace a Whirlpool Duet washer bellow tub door seal

W10739670 Washer Shock Absorber Replacement for Whirlpool, Maytag, Kenmore  Washers W10480711 - W10480711-8540852 - W10084740 - AP5954411-4 Pack - 1 ...

W10739670 Washer Shock Absorber Replacement for Whirlpool, Maytag, Kenmore Washers W10480711 - W10480711-8540852 - W10084740 - AP5954411-4 Pack - 1 ...

Whirlpool AWOC7102 Front Loader Washing Machine Service ...

Whirlpool AWOC7102 Front Loader Washing Machine Service ...

Samsung WW80T954ASH Lavatrice 8kg QuickDrive Ai Control ...

Samsung WW80T954ASH Lavatrice 8kg QuickDrive Ai Control ...

How to replace a Whirlpool Duet washer bellow tub door seal

How to replace a Whirlpool Duet washer bellow tub door seal

Whirlpool WFW9400SW00 washer parts | Sears PartsDirect

Whirlpool WFW9400SW00 washer parts | Sears PartsDirect

Whirlpool Washer WFW9400SZ01 User Guide | ManualsOnline.com

Whirlpool Washer WFW9400SZ01 User Guide | ManualsOnline.com

Duet Washer Help | Appliance Aid

Duet Washer Help | Appliance Aid

WHIRLPOOL Washer model #WFW9250WW-01, USED WATER LEVEL SWITCH | eBay

WHIRLPOOL Washer model #WFW9250WW-01, USED WATER LEVEL SWITCH | eBay

Whirlpool Duet Sport Washer Component Locations | For more h ...

Whirlpool Duet Sport Washer Component Locations | For more h ...

Whirlpool WED8300SW0 dryer parts | Sears PartsDirect

Whirlpool WED8300SW0 dryer parts | Sears PartsDirect

Whirlpool WFW94HEXW2 Parts | Reliable Parts

Whirlpool WFW94HEXW2 Parts | Reliable Parts

Whirlpool Duet Front Load Washer Parts Guide.

Whirlpool Duet Front Load Washer Parts Guide.

Whirlpool CHW9160GW 27 Inch Commercial Front Load Washer ...

Whirlpool CHW9160GW 27 Inch Commercial Front Load Washer ...

Parts of a Washing Machine: A Quick Guide | Whirlpool

Parts of a Washing Machine: A Quick Guide | Whirlpool

Whirlpool WFW8300SW04 User Manual

Whirlpool WFW8300SW04 User Manual

Whirlpool GHW9150PW 27 Inch Duet Front-Load Washer with 3.8 ...

Whirlpool GHW9150PW 27 Inch Duet Front-Load Washer with 3.8 ...

WHIRLPOOL WFC7500VWO SERVICE MANUAL: WHIRLPOOL: Amazon.com: Books

WHIRLPOOL WFC7500VWO SERVICE MANUAL: WHIRLPOOL: Amazon.com: Books

Whirlpool 285982 Front Outer Tub - ApplianceParts4All.com

Whirlpool 285982 Front Outer Tub - ApplianceParts4All.com

Whirlpool Residential Direct-Drive Washer | GHW9100LW1 ...

Whirlpool Residential Direct-Drive Washer | GHW9100LW1 ...

Pin on schematic duet washer

Pin on schematic duet washer

Whirlpool WFW9050XW00 Washer Parts and Accessories at ...

Whirlpool WFW9050XW00 Washer Parts and Accessories at ...

GHW9150PW4

GHW9150PW4

0 Response to "36 whirlpool duet front load washer parts diagram"

Post a Comment

Iklan Atas Artikel

Iklan Tengah Artikel 1

Iklan Tengah Artikel 2

Iklan Bawah Artikel